Allegro MicroSystems ACS71240 Current Sensor ICs

Allegro MicroSystems ACS71240 Galvanically Isolated Current Sensor ICs offer replacements for shunt resistors, operational amplifiers, current transformers, and voltage isolators in data center applications that require a small form factor and monolithic sensor solutions. The ACS71240 fully integrated solutions reduce the overall cost of current sensing by eliminating discrete components that need printed circuit board area. The Allegro ACS71240 monolithic Hall effect current sensor ICs feature output signal immunity to stray magnetic fields, improved output signal accuracy (<+/-1.5% typical), and output signal immunity to noisy supply voltage rails. The device also has a dedicated fast overcurrent fault output with a typical response time of 1.5us. This fast fault output provides a simple means of detecting short circuit events to prevent MOSFET or IGBT damage in an inverter, motor, or other switching power electronics applications.

Allegro Microsystems ACS71240 Current Sensor ICs are available in two very small form factor package options, each delivering different levels of galvanic isolation. The tiny 3mm x 3mm, wettable flank QFN package can be used on voltage rails up to 120VDC and enables solder joint inspection required in zero PPM automotive applications. The standard footprint SOIC8 package is UL certified to 2400VRMS of isolation and offers a working voltage of 420VDC or 297VRMS.

Features

  • AEC-Q100 qualified
  • Differential Hall sensing rejects common-mode stray magnetic fields
  • Overcurrent FAULT with a factory programmable trip range of 50% to 200% of full-scale current
  • Non-ratiometric output provides immunity to noisy supplies
  • Galvanically isolated
    • QFN package with 120VDC working voltage
    • SOIC8 package with UL certified to 2400VRMS, working voltage of 420VDC or 297VRMS
  • Reduced power loss
    • 0.6mΩ internal conductor resistance on QFN package
    • 1.2mΩ internal conductor resistance on SOIC8 package
  • Integrated shield virtually eliminates capacitive coupling from current conductor to die, greatly suppressing output noise due to high dv/dt transients
  • Output voltage proportional to AC or DC current
  • High-bandwidth 120kHz analog output for faster response times in control applications
  • Factory-trimmed sensitivity and quiescent output voltage for improved accuracy
  • 3.3V and 5V single-supply operation
  • Small footprint, low-profile QFN, and SOIC8 packages suitable for space-constrained applications

Videos

Typical Application

Application Circuit Diagram - Allegro MicroSystems ACS71240 Current Sensor ICs

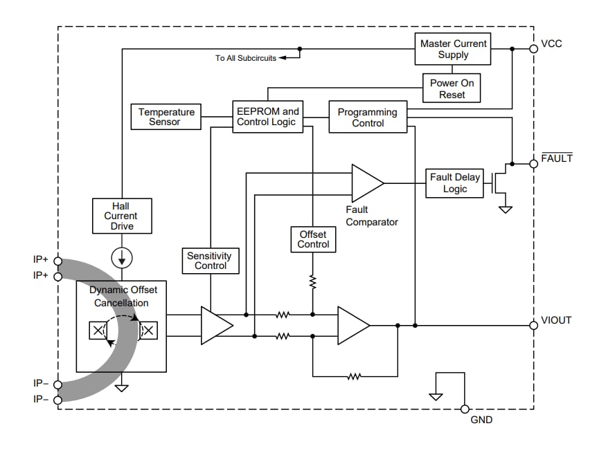
Block Diagram

Block Diagram - Allegro MicroSystems ACS71240 Current Sensor ICs
Published: 2022-02-21 | Updated: 2025-03-03