ams OSRAM AS1163 & AS1163B Automotive LED Driver ICs

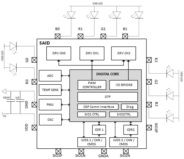
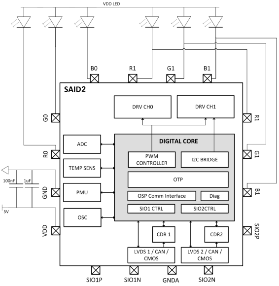
ams OSRAM AS1163 and AS1163B Automotive LED Driver ICs are mixed-signal silicon devices optimized for dynamic lighting applications. These ICs support single-layer slim PCB designs and Open System Protocol (OSP), which makes them compatible with OSIRE E3731i. The AS1163 and AS1163B LED driver ICs feature a 2.4Mbit/s two-wire daisy chain (bi-directional or loop-back) or star topology, up to 1000 nodes, and 16-bit brightness adjustment. The additional features include an I2C gateway, parallel connection, power-rail feedback, and analog readout. These devices are used in interior dynamic lighting effects, ambient lighting, functional lighting, exterior lighting, roof lighting, and smart surfaces.

The AS1163 SAID IC drives 9 LEDs assembled in 3 channel triplets (RGB) with an independent PWM dimming dynamic range of up to 16-bit. The AS1163B SAID2 IC drives 6 LEDs organized in 2 channel triplets (RGB) with an independent PWM dimming dynamic range of up to 16-bit. The protection features include open/short/communication diagnosis and overvoltage/overtemperature protection.

Features

  • 2.4Mbit/s two-wire daisy chain (bi-directional or loop-back) or star topology
  • Open/short/communication diagnosis and overvoltage/overtemperature protection
  • Up to 1000 nodes
  • Compatible with OSIRE E3731i in daisy chain
  • Output clustering (up to 288mA)
  • Brightness adjustment (16-bit)
  • Anti-flickering dithering
  • Slim/single-layer PCB
  • Two-wire-SPI connection with MCU
  • AS1163 (SAID):
    • 3 x RGB LEDs (48mA, 24mA, and 24mA)
    • 2 x RGB LEDs + I2C
    • 9 x single-color LEDs
  • AS1163B (SAID2):
    • 2 x RGB LEDs (48mA, 48mA, and 48mA)
    • 1 x RGB LEDs + I2C
    • 6 x single-color LEDs

Applications

  • Interior dynamic lighting effect
  • Ambient lighting
  • Functional lighting
  • Exterior lighting
  • Roof lighting
  • Smart surface

AS1163 (SAID) Block Diagram

Block Diagram - ams OSRAM AS1163 & AS1163B Automotive LED Driver ICs

AS1163B (SAID2) Block Diagram

Block Diagram - ams OSRAM AS1163 & AS1163B Automotive LED Driver ICs
Published: 2025-02-18 | Updated: 2025-03-11