Analog Devices Inc. AD7401 Isolated Sigma-Delta Modulators

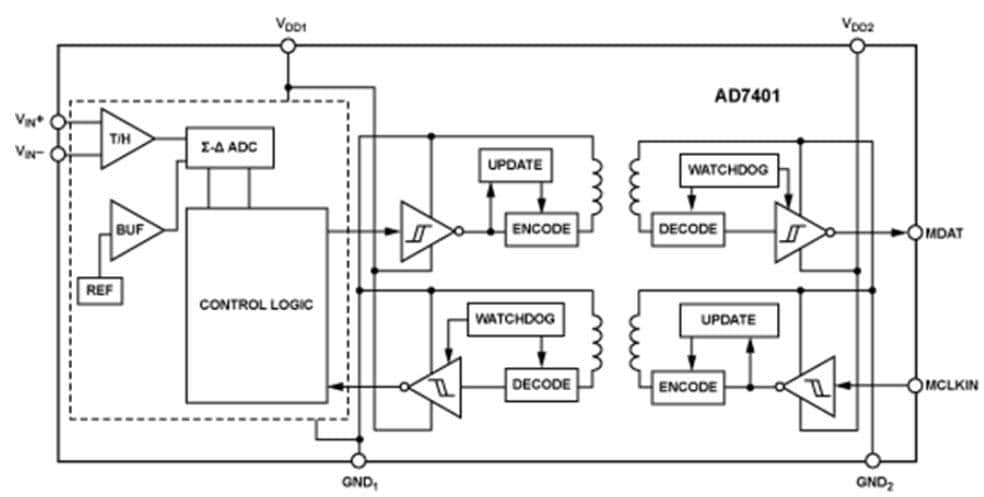
Analog Devices Inc. AD7401 Isolated Sigma-Delta Modulators are based on ADI's iCoupler® technology and convert an analog input signal into a high speed, 1-bit data stream with on-chip digital isolation. Analog Devices AD7401 is a second-order, sigma-delta (Σ-Δ) modulator that operates from a 5V power supply and accepts a differential input signal of ±200mV (±320mV full scale). The analog input is continuously sampled by the analog modulator, eliminating the need for external sample-and-hold circuitry. The input information is contained in the output stream as a density of ones with a data rate up to 20MHz. The original information can be reconstructed with an appropriate digital filter. The serial input/output can use a 5V or a 3V supply (VDD2).

The serial interface is digitally isolated. High speed CMOS with monolithic air core transformer technology allows on-chip isolation to provide outstanding performance characteristics, superior to alternatives like optocoupler devices. The device contains an on-chip reference. The AD7401 is offered in a 16-lead SOIC and has an operating temperature range of -40°C to +105°C.

An internal clock version, AD7400, is also available.

Features

  • 20MHz maximum external clock rate
  • Second-order modulator
  • 16 bits no missing codes
  • ±2 LSB INL typical at 16 bits
  • 3.5μV/°C maximum offset drift
  • On-board digital isolator
  • On-board reference
  • 20mA maximum operation at 5.25V
  • -40°C to +105°C operating range
  • 16-lead SOIC package
  • Safety and regulatory approvals

Applications

  • AC motor controls
  • Data acquisition systems
  • A/D + opto-isolator replacements

Block Diagram

Block Diagram - Analog Devices Inc. AD7401 Isolated Sigma-Delta Modulators
Published: 2018-04-03 | Updated: 2023-01-27