Analog Devices Inc. ADEMA124/ADEMA127 24-Bit Sigma-Delta ADCs
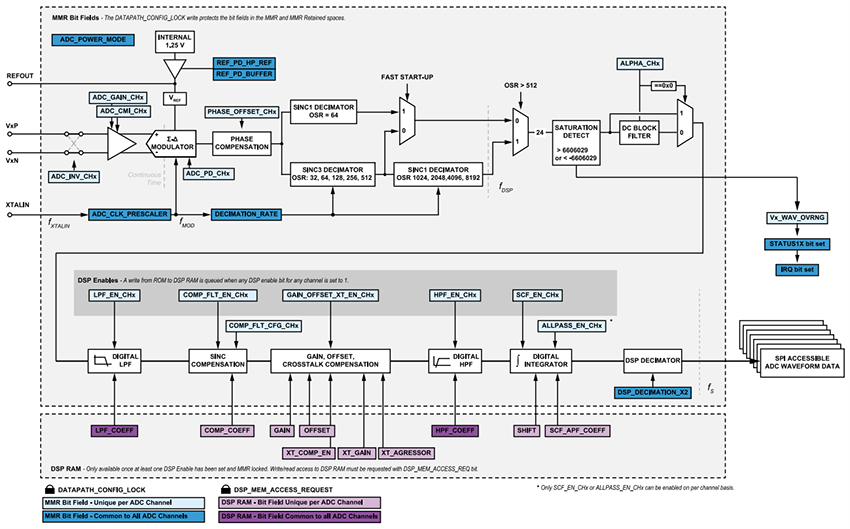
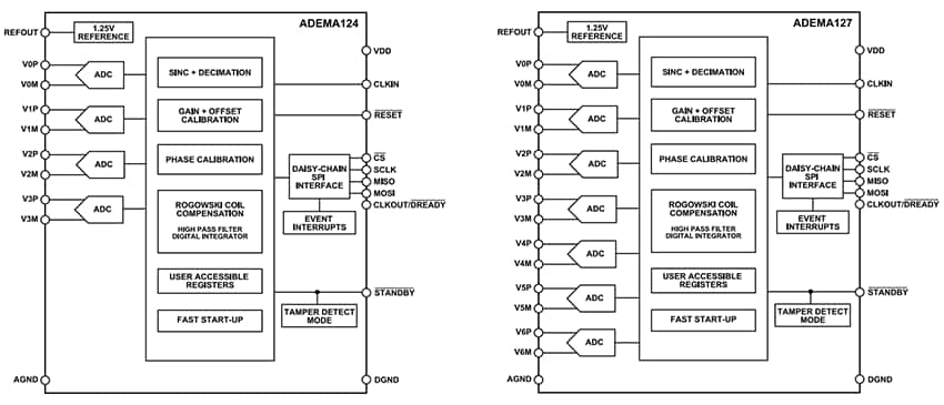
Analog Devices Inc. ADEMA124/ADEMA127 24-Bit Sigma-Delta ADCs are 4-channel and 7-channel, respectively, simultaneously sampling analog-to-digital converters (ADCs) designed for polyphase and split-phase energy metering applications. These devices are compatible with voltage dividers, shunts, and isolated current sensors such as current transformers and Rogowski coils. Each ADC channel includes independent hardware and DSP filters that enable gain, phase, and offset compensation. Additionally, the converters feature specialized DSP capabilities, including an integrator and second-order high-pass filter, which simplify Rogowski sensor implementations. Preloaded DSP filter coefficients for common use cases are provided and can be customized to meet specific requirements.
The ADI ADEMA124 and ADEMA127 incorporate sinc compensation, low-pass filtering, and a DSP decimate-by-2 function, extending the usable analog bandwidth by up to 70% for a given output sample rate. This high bandwidth makes the components suitable for IEC 61000-4-30 Power Quality Class A and Class S meters. These ADCs also support compliance with active energy standards such as IEC 62053-21, IEC 62053-22, OIML R46, and ANSI C12.1, as well as reactive energy standards including IEC 62053-23, IEC 62053-24, and EN 50470-3. With a fast start-up time of just 0.5ms (typical), the ADEMA124 and ADEMA127 ADCs are ideal for circuit breakers and protection relays, particularly when used with Rogowski sensors.
For configuration and data retrieval, the ADCs provide a flexible SPI interface with daisy-chain capability, allowing multiple ADCs to be serviced through a single SPI port and reducing pin count on the host microcontroller. The components are also daisy-chain compatible with the ADE9112/ADE9113 isolated ADCs. To ensure data integrity, independent cyclic redundancy checks (CRC) are implemented to detect errors in SPI communication and prevent unintended changes to configuration registers.
Features
- 4- (ADEMA124) or 7-channel (ADEMA127) high-performance, simultaneous sampling Σ-Δ ADCs
- Up to 105dB SNR
- Up to 64kSPS programmable sample rate
- Wide ±1.2VPK input-voltage range, 848mVRMS full-scale
- High impedance, differential inputs
- 5ppm/°C typical internal voltage reference temperature coefficient
- Integrated digital integrator and high-pass filter for use with Rogowski coils
- Fast start-up with first samples in 0.5ms after a valid supply
- Tamper detect mode, low power for battery back-up
- 4-wire SPI with bidirectional CRC and daisy-chain functionality
- Simple synchronization of multiple ADC devices
- Gain, phase, and offset compensation for each channel
- Unique SPI-readable part ID registers
- Only 18mW power consumption with 7-channel ADC
- Wide -40°C to +125°C temperature range
- Compact 32-lead, 5mm x 5mm LFCSP package
- Moisture Sensitivity Level (MSL) 3
Applications
- Polyphase energy meters
- Split-phase energy meters
- Branch circuit monitoring
- Power distribution units
- Power quality monitoring
- Circuit breakers
- Protection relays
- Electric vehicle supply equipment
Resources
- ADEMA124/ADEMA127 Calibration Guide
- Application Note AN-2625 - Designing with Multiple ADE ADCs
Functional Block Diagrams
Datapath
