Analog Devices Inc. ADG1412L Quad SPST Switch
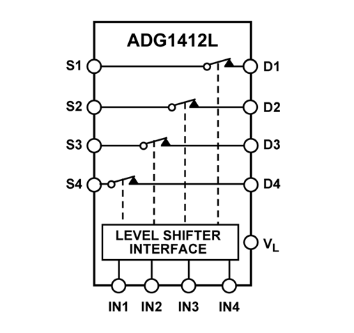
Analog Devices Inc. ADG1412L Quad Single-Pole/Single-Throw (SPST) Switch is a monolithic Complementary Metal-Oxide Semiconductor (CMOS) device containing four independently selectable switches designed using the iCMOS® process. The four SPST switches are turned on with logic one and an external VL supply, which provides flexibility for lower logic control. This ADG1412L switch offers a maximum of 2.6Ω on-resistance over temperature and guaranteed switch-off when digital inputs are floating. The on-resistance profile is flat over the full analog input range while switching signals, ensuring excellent linearity and low distortion (1.5Ω typical).The ADG1412L switch is JEDEC standard compliant for 1.2V (JESD8-7A) and 1.8V logic levels (JESD8-12A.01). This ADG1412L switch features rail-to-rail operation, minimum distortion, and comes with a 4mm x 4mm body dimensions. Typical applications include audio and video signal routing, relay replacement, communications systems, automated test equipment, and battery-powered systems.
Features
- 1.5Ω on-resistance for ±15V dual supply at 25°C
- 0.3Ω on-resistance flatness for ±15V dual supply at 25°C
- 0.1Ω on-resistance match between channels for ±15V dual supply at 25°C
- Fully specified at ±15V, +12V, and ±5V:
- ±4.5V to ±16.5V dual-supply operation range
- 5V to 16.5V single-supply operation range
- VL supply for low logic-level compatibility:
- 1.8V JEDEC standard compliant (JESD8-7A)
- 1.2V JEDEC standard compliant (JESD8-12A.01)
- Rail-to-rail operation
- 24-lead, 4mm x 4mm LFCSP
Specifications
- 2.6Ω maximum on resistance over temperature
- Minimum distortion
- Guaranteed switch off when digital inputs are floating
Applications
- Automated test equipment
- Data-acquisition systems
- Battery-powered systems
- Sample-and-hold systems
- FPGA and microcontroller systems
- Audio signal routing
- Video signal routing
- Communications systems
- Relay replacement
Functional Block Diagram
Application Circuit Diagram
Outline Dimensions
Published: 2022-10-12
| Updated: 2025-02-20
