Analog Devices Inc. ADL8108 Low Noise Amplifiers

Analog Devices Inc. ADL8108 Low Noise Amplifiers are versatile low-noise amplifiers designed to operate across a frequency range of 1GHz to 8GHz. These amplifiers feature an integrated temperature sensor and a power-down control pin, making the device ideal for energy-efficient applications. The ADL8108 amplifiers deliver robust input and output matching with 50Ω impedance. These amplifiers are housed in a compact 16-lead LFCSP package, designed for thermal efficiency and reliable performance in high-frequency environments. The ADL8108 amplifiers are used in telecommunication, test instrumentation, and military.

Features

  • 5V single positive supply and IDQ of 90mA nominal
  • RBIAS drain current adjustment pin
  • Integrated temperature sensor
  • Integrated enable and disable function
  • 20dB gain typical from 3GHz to 4.5GHz
  • 35.5dBm OIP3 typical from 1GHz to 4.5GHz
  • 1dB noise figure typical from 3GHz to 6GHz
  • -55°C to 125°C extended operating temperature range
  • RoHS-compliant, 3mm x 3mm, and 16-lead LFCSP package

Applications

  • Telecommunications
  • Test instrumentation
  • Military

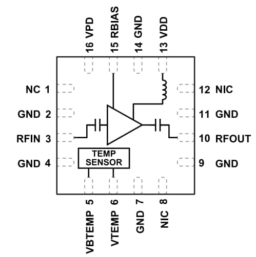
Block Diagram

Block Diagram - Analog Devices Inc. ADL8108 Low Noise Amplifiers
Published: 2025-01-27 | Updated: 2025-02-25