EDATEC ED-HMI2x Raspberry Pi CM4 Industrial Panel PCs

EDATEC ED-HMI2x Raspberry Pi CM4 Industrial Panel PCs are based on the Raspberry Pi CM4. Various RAM and eMMC computer system specifications can be selected depending on the application scenario and user needs. RAM options include 1GB, 2GB, 4GB, and 8GB, while eMMC options include 8GB, 16GB, and 32GB.

The ED-HMI2020-101C industrial panel PCs provide common interfaces such as HDMI, USB, and Ethernet and support access to the network through Wi-Fi and Ethernet. Integrating an RTC, EEPROM, and an encryption chip provides ease of use and reliability, mainly used in industrial control. 

The EDATEC ED-HMI2120-101C high-reliability industrial panel PCs feature HDMI, USB, Ethernet, RS232, and RS485 interfaces and access to the network through Wi-Fi, Ethernet, and 4G. An integrated supercapacitor (backup power supply), RTC, Watch Dog, EEPROM, and encryption chip provide ease of use and reliability, mainly used in industrial control and IoT.

Features

  • 10.1" TFT, resolution 1280x800, multi-point capacitive touch screen
  • Broadcom BCM2711, quad-core Arm Cortex-A72 (ARM v8) 64-bit SoC at 1.5GHz
  • Up to 8GB LPDDR4 RAM and 32GB eMMC storage
  • Reverse polarity protection, overvoltage protection, and overcurrent protection
  • Embedded installation, compatible with VESA standard bracket installation
  • 160° viewing angle
  • -20°C to +60°C operating temperature range
  • ED-HMI2020-101C
    • Lan supports up to 1Gbps
    • 2.4GHz and 5GHz dual-band Wi-Fi and BLUETOOTH
    • Micro SD card support; integrated RTC, EEPROM, and encryption chip
    • Wide voltage power input range of 9VDC to 28VDC
    • 258mm x 172mm x 40mm (WxDxH, antenna is not included)
  • ED-HMI2120-101C
    • Micro SD card support and M.2 NVMe SSD storage expansion
    • Dual lan, 1x Gigabit Ethernet and 1x 100M Ethernet
    • 4x isolated RS232/485 with electrostatic and surge protection
    • 2.4GHz and 5GHz dual-band Wi-Fi, BLUETOOTH, and 4G LTE
    • Wide voltage power input range of 9VDC to 36VDC
    • Integrated supercapacitor (backup power supply, optional), RTC, Watch Dog, EEPROM, and crypto authentication
    • 258mm x 172mm x 42mm (WxDxH, antenna is not included)

Applications

  • Industrial control
  • Internet of Things (IoT)

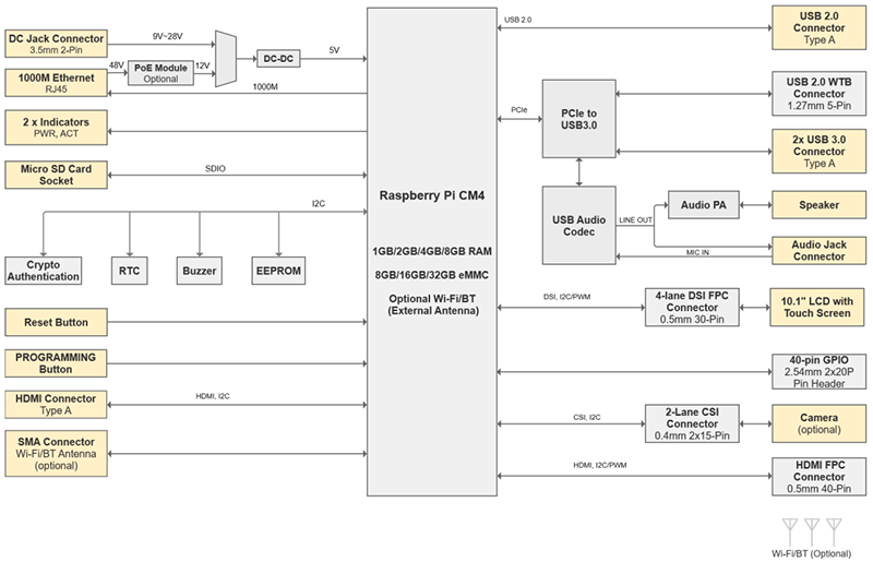
ED-HMI2020-101C System Diagram

Block Diagram - EDATEC ED-HMI2x Raspberry Pi CM4 Industrial Panel PCs

ED-HMI2120-101C System Diagram

Block Diagram - EDATEC ED-HMI2x Raspberry Pi CM4 Industrial Panel PCs
Published: 2024-07-22 | Updated: 2024-08-29