FTDI Chip FT232RN USB UART ICs

FTDI Chip FT232RN USB UART ICs offer a USB to serial UART and bit-bang/GPIO modes with optional clock generator output. The FT232RN provides asynchronous and synchronous bit-bang interface modes. USB to serial designs incorporating the FT232RN has been further simplified by fully integrating the external EEPROM, clock circuit, and USB resistors.

The FTDI Chip FT232RN USB UART ICs is a “3-in-1” chip for some application areas, adding two new functions compared with its predecessors. The internally generated clock (6MHz, 12MHz, 24MHz, and 48MHz) can be separated from the FT232RN and used to drive a microcontroller or external logic. 

The FT232RN is housed in Pb-free (RoHS compliant) compact 28-pin SSOP (FT232RNL) and 32-pin QFN (FT232RNQ) packages.

Features

  • Single chip USB to asynchronous serial data transfer interface
  • Entire USB protocol is handled on the chip, no USB-specific firmware programming is required
  • Fully integrated 1024-bit EEPROM storing device descriptors and CBUS I/O configuration
  • Fully integrated USB termination resistors
  • Fully integrated clock generation with no external crystal required plus optional clock output selection enabling a glue-less interface to external MCU or FPGA
  • Data transfer rates from 300baud to 3 Mbaud (RS422, RS485, RS232) at TTL levels
  • 128bytes receive buffer, and 256bytes transmit buffer utilizing buffer smoothing technology to allow for high data throughput
  • FTDI’s royalty-free Virtual Com Port (VCP) and Direct (D2XX) drivers eliminate the requirement for USB driver development in most cases
  • Unique USB FTDIChip-ID™ feature
  • Configurable CBUS I/O pins
  • Transmit and receive LED drive signals
  • UART interface support for 7 or 8 data bits, 1 or 2 stop bits and odd / even / mark / space / no parity
  • Synchronous and asynchronous bit bang interface options with RD# and WR# strobes
  • FIFO receives and transmits buffers for high data throughput
  • Device supplied pre-programmed with a unique USB serial number
  • Supports bus-powered, self-powered and high power bus powered USB configurations
  • Integrated +3.3V level converter for USB I/O
  • Integrated level converter on UART and CBUS for interfacing between +1.8V and +5V logic
  • True 5V/3.3V/2.8V/1.8V CMOS drive output and TTL input
  • Configurable I/O pin output drive strength
  • Integrated power-on-reset circuit
  • Fully integrated AVCC supply filtering - no external filtering required
  • UART signal inversion option
  • +3.3V to +5.25V Single Supply Operation
  • Low operating and USB suspend current
  • Low USB bandwidth consumption
  • UHCI/OHCI/EHCI host controller compatible
  • USB 2.0 Full Speed compatible
  • -40°C to 85°C extended operating temperature range
  • Available in compact Pb-free 28 Pin SSOP and QFN-32 packages (both RoHS compliant)

Applications

  • USB to RS232/RS422/RS485 converters
  • Upgrading legacy peripherals to USB
  • Cellular and cordless phone USB data transfer cables and interfaces
  • Interfacing MCU/PLD/FPGA-based designs to USB
  • USB Audio and low bandwidth video data transfer
  • PDA to the USB data transfer
  • USB Smart card readers
  • USB Instrumentation
  • USB Industrial control
  • USB MP3 Player interface
  • USB FLASH card reader and writers
  • Set-top box PC - USB interface
  • USB Digital camera interface
  • USB Hardware modems
  • USB Wireless modems
  • USB Bar code readers
  • USB Software and hardware encryption dongles

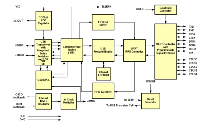
Block Diagram

Block Diagram - FTDI Chip FT232RN USB UART ICs
Published: 2022-10-10 | Updated: 2022-10-20