Microchip Technology MICRF229 ASK/OOK Receiver with Auto-Poll & RSSI
Microchip Technology MICRF229 ASK/OOK Receiver with Auto-Poll and RSSI is a 400MHz to 450MHz super-heterodyne, image-reject RF receiver with automatic gain control. The MICRF229 also features an ASK/OOK demodulator and analog RSSI output. It's ideal for low-cost, low-power, RKE, TPMS, and remote actuation applications and only requires a crystal and a minimum number of external components. It achieves -112dBm sensitivity at a bit rate of 1kbps with 1% BER. The MICRF229 has eight demodulator filter bandwidths selectable in binary steps from 1625Hz to 34kHz at 433.92MHz. This allows the device to support bit rates up to 20kbps. It typically consumes 6.0mA at 433.92MHz with a supply voltage of 3.5V to 5.5V. The shutdown mode and sleep mode reduce current to 0.5µa and 15µA.The Microchip Technology MICRF229 ASK/OOK Receiver is available in a compact 4.9mm x 6.0mm QSOP-16 package with a -40°C to +105°C operating junction temperature range.
Features
- -112dBm sensitivity at 1kbps with 1% BER
- Auto-polling mode with bit checking
- Supports bit rates up to 20kbps at 433.92MHz
- 25dB image-reject mixer
- No IF filter required
- 60dB analog RSSI output range
- 3.5V to 5.5V supply voltage range
- 60mA supply current at 434MHz
- 15µA supply current in sleep mode
- 0.5µA supply current in shutdown mode
- 16-pin 4.9x6.0mm QSOP package
- -40ºC to +105ºC temperature range
- 2kV HBM ESD rating
- 4.9mm x 6.0mm QSOP-16 package
Applications
- Automotive remote keyless entry (RKE)
- Long-range RFID
- Remote fan/light control
- Garage door/gate openers
- Remote metering
- Low data rate unidirectional wireless data links
Typical Application Circuit
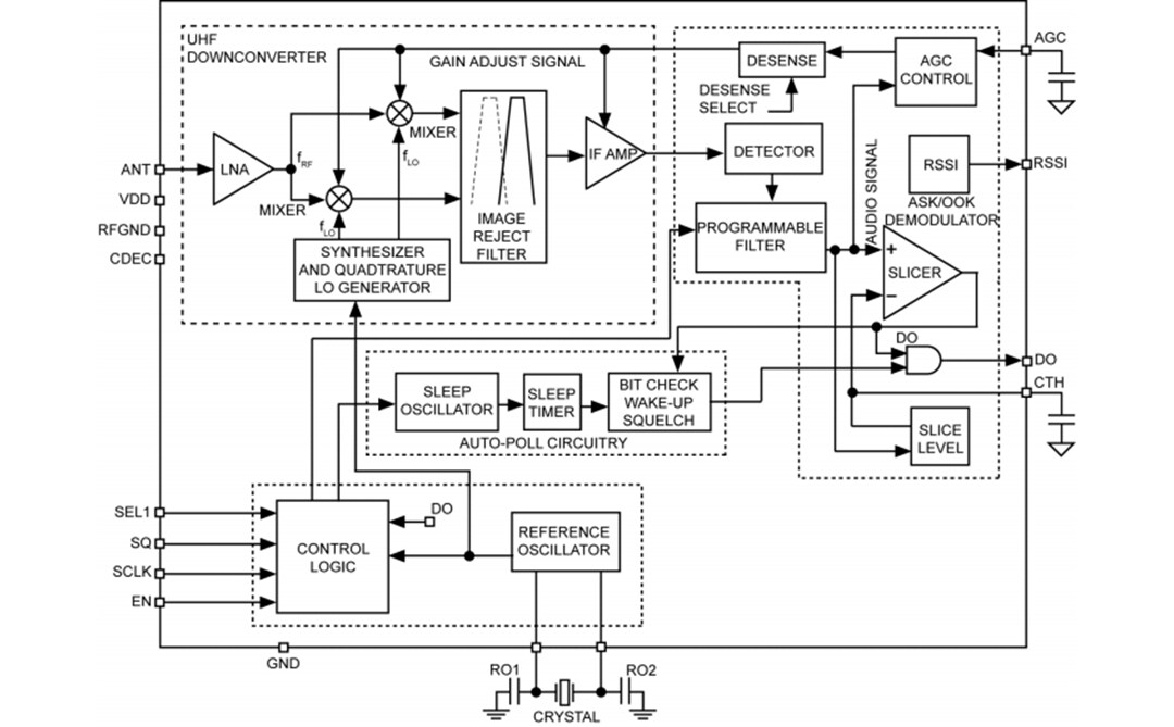
Block Diagram
Published: 2015-05-06
| Updated: 2022-03-11
