Microchip Technology PIC18-Q71 28/40/44/48-Pin Microcontrollers

Microchip Technology PIC18-Q71 28/40/44/48-Pin Microcontrollers are designed for high bandwidth mixed-signal and sensor applications. The PIC18-Q71 MCUs are an ideal solution for lighting, motor control, and medical market segments.

The analog-focused Microchip PIC18-Q71 MCUs incorporate a 12-bit differential ADC with computation and context switching, two operational amplifiers, a 10-bit Digital-to-Analog Converter (DAC), and two 8-bit DAC modules with buffered outputs and internal connections to other peripherals, and two advanced high-speed analog comparators. Additionally, the devices feature the Analog Peripheral Manager to manage analog peripherals for optimizing power consumption.

The PIC18-Q71 microcontrollers offer the 8-bit virtual port module to interconnect digital peripherals without utilizing external pins.

Features

  • C Compiler-optimized RISC architecture
  • 128-level deep hardware stack
  • Four Direct Memory Access (DMA) controllers:
    • Data transfers to SFR/GPR spaces from either the Program Flash Memory, Data EEPROM, or SFR/GPR spaces
    • User-programmable source and destination sizes
    • Hardware and software-triggered data transfers
  • Vectored interrupt capability:
    • Selectable high/low priority
    • Fixed interrupt latency of three instruction cycles
    • Programmable vector table base address
    • Backward compatible with previous interrupt capabilities
  • Operating speed:
    • DC to 64MHz clock input
    • 62.5ns minimum instruction cycle
  • Low-current Power-on Reset (POR)
  • Configurable Power-up Timer (PWRT)
  • Brown-out Reset (BOR)
  • Low-Power BOR (LPBOR) option
  • Windowed Watchdog Timer (WWDT):
    • Watchdog Reset on too long or too short intervals between watchdog clear events
    • Variable prescaler selection
    • Variable window size selection

Applications

  • Analog and digital sensors in mixed-signal edge nodes and single-chip applications
  • Lighting
  • Motor control
  • Medical
  • Home automation
  • Automotive
  • Internet of Things (IoT)

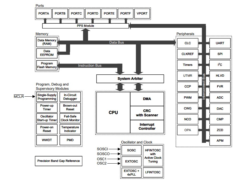
Block Diagram

Microchip Technology PIC18-Q71 28/40/44/48-Pin Microcontrollers

Videos

Published: 2023-03-01 | Updated: 2024-11-06