NXP Semiconductors PCA2131 Nano-Power CMOS Real Time Clock (RTC)

NXP Semiconductors PCA2131 Nano-Power CMOS Real Time Clock (RTC) is an RTC and calendar with an on-chip Temperature Compensated Crystal (Xtal) Oscillator (TCXO) and a 32.768kHz quartz crystal integrated into the same package. The AEC-Q100-compliant PCA2131 is optimized for very high accuracy and ultra-low power consumption. Address and data are transferred by a selectable 400kHz fast-mode I2C Bus or a 4-line SPI Bus (6.5Mbit/s maximum speed) with separate data input and output.

The PCA2131 has a backup battery input pin and backup battery switch-over circuit that monitors the main power supply. The circuit automatically switches to the backup battery when a power failure condition is detected, maintaining accurate timekeeping even when the main power supply is interrupted. A battery low detection circuit monitors the battery's status. When the battery voltage drops below a particular threshold value, a flag indicates that the battery must be replaced soon. This ensures the integrity of the data during periods of battery backup. Other features include a programmable watchdog function, four timestamp functions, and many more.

Features

  • AEC-Q100 compliant
  • -40°C to +105°C operating temperature range
  • Temperature Compensated Crystal Oscillator (TCXO) with trimmed integrated capacitors
  • Clock operational up to +125°C
  • Ultra-low 106nA typical supply current at VDD = 3.3V
  • Temperature-compensated RTC typical accuracy 
    • ±3ppm from -40°C to +85°C
    • ±8ppm from +85°C to +105°C
  • Integrates a 32.768kHz quartz crystal and oscillator in the same package
  • Provides year, month, day, weekday, hours, minutes, seconds, and 1/100 seconds
  • Provides leap-year correction
  • Timestamp function
    • With interrupt capability
    • Detection of four different events on four input pins (for example, for tamper detection)
  • 2-line bidirectional 400kHz fast-mode I2C-bus interface
  • 4-line SPI-bus with separate data input and output (maximum speed 6.5Mbit/s)
  • Battery backup input pin and switch-over circuitry
  • Battery-backed output voltage
  • Battery low detection function
  • Power-On Reset (POR)
  • Power-On Reset Override (PORO) function
  • Software reset function
  • Two interrupt outputs (open-drain)
  • Programmable 1-second or 1-minute interrupt
  • Programmable watchdog timer with interrupt
  • Programmable alarm function with interrupt capability
  • Programmable square output
  • 1.2V to 5.5V clock operating voltage
  • HLSON16 package
    • 4.5mm x 3.5mm x 1.45mm body, 0.5mm pitch
    • 0.125 dimple wettable flank 
    • Thermally enhanced low profile small outline, no leads

Applications

  • Electronic metering for electricity, water, and gas
  • Precision timekeeping
  • Access to accurate time of the day
  • GPS equipment to reduce time to first fix
  • Applications that require an accurate process timing
  • Products with long automated unattended operation time
  • Automotive
    • Automotive high-performance compute
    • Connected radios
    • Digital clusters
    • Smart car access
    • V2X communications

Videos

Block Diagrams

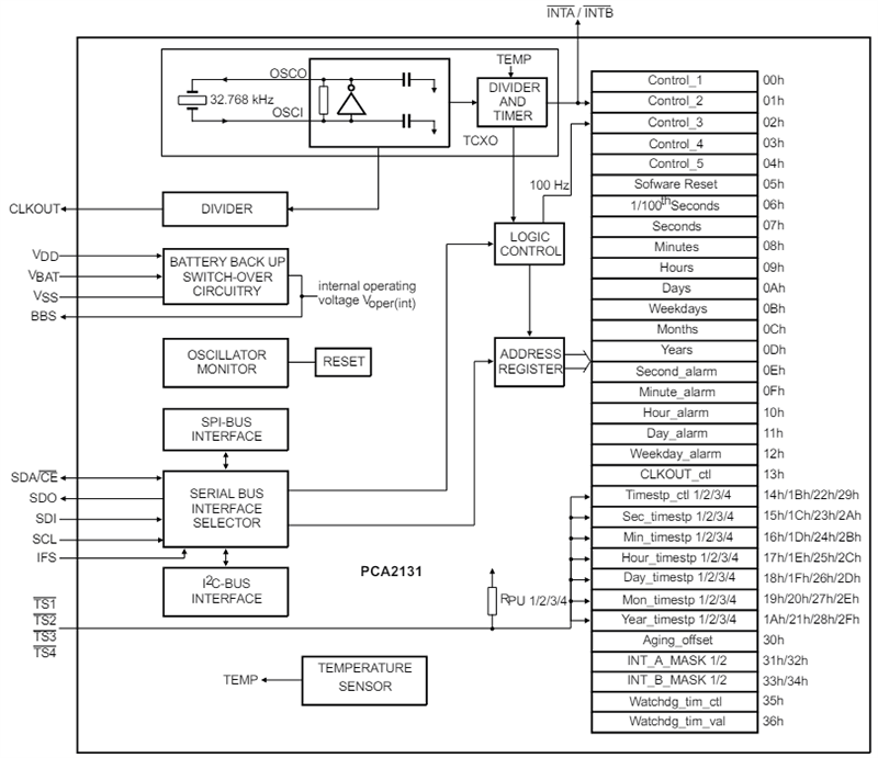
Block Diagram - NXP Semiconductors PCA2131 Nano-Power CMOS Real Time Clock (RTC)
Block Diagram - NXP Semiconductors PCA2131 Nano-Power CMOS Real Time Clock (RTC)
Published: 2024-05-22 | Updated: 2024-09-09