NXP Semiconductors UJA116xA Mini HS-CAN Transceivers

NXP Semiconductors UJA116xA Mini HS-CAN Transceivers offer a highly integrated solution with an HS-CAN interface housed in a small, leadless HVSON14 package. The UJA116xA variants provide options including a watchdog, an optional external 5V sensor supply, and partial networking support.

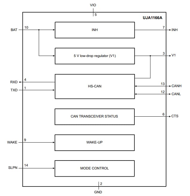
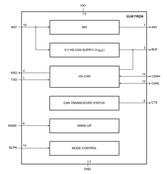
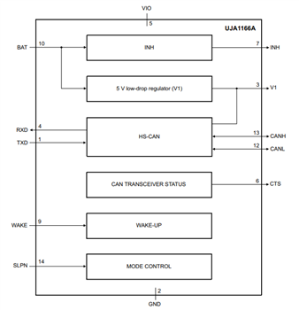
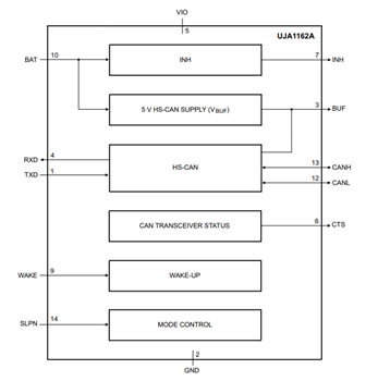
The NXP UJA116xA Mini HS-CAN Transceivers contain an ISO11898-2:2016 and SAE J2284-1 to J2284-5 compliant HS-CAN transceiver. Additionally, the devices feature CAN FD active communication up to 5Mbit/s together with an integrated 5V low-dropout regulator supply (V1) for a microcontroller and other loads up to 100mA. The UJA116xA SBC can be operated in very low-current standby and sleep modes with bus and local wake-up capabilities.

Features

  • ISO 11898-2:2016 and SAE J2284-1 to SAE J2284-5 compliant HS-CAN including CAN FD active communication up to 5Mbit/s
  • Optional partial networking and CAN FD passive support
  • Autonomous bus biasing according to ISO 11898-6
  • Fully integrated 5V low-dropout regulator with 100mA output current capability
  • Optional protected 5V sensor supply variant for off-board usage
  • Standby and sleep mode with very low supply current
  • Watchdog with window, timeout and autonomous modes and microcontroller-independent clock source
  • Remote and local wake-up capability
  • Mode control via the serial peripheral interface (SPI bus)
  • Easy and secure customer programmable configuration of selected functions via non-volatile memory
  • Support for microcontroller RAM retention down to a battery voltage of 2V
  • Leadless HVSON14 package (3mm x 4.5mm) with improved automated optical inspection (AOI) capability and low thermal resistance
  • Hardware and software compatible with UJA116x product family
  • Qualified in accordance with the AEC-Q100 Rev-G standard

Applications

  • Sun roof control modules
  • Seat pretensioners
  • Gear shift control
  • Tire pressure monitoring
  • Window and door control
  • Steering control modules
  • HVAC climate control

Variant Table

Chart - NXP Semiconductors UJA116xA Mini HS-CAN Transceivers

Block Diagrams

View Results ( 11 ) Page
Part Number Datasheet Description
UJA1164ATK/0Z UJA1164ATK/0Z Datasheet CAN Interface IC Mini high-speed CAN system basis chip with Standby mode & watchdog
UJA1162ATK/0Z UJA1162ATK/0Z Datasheet CAN Interface IC Self-supplied high-speed CAN transceiver with Sleep mode
UJA1167ATK/0Z UJA1167ATK/0Z Datasheet CAN Interface IC Mini high-speed CAN system basis chip with Standby/Sleep modes & watchdog
UJA1163ATK/0Z UJA1163ATK/0Z Datasheet CAN Interface IC Mini high-speed CAN system basis chip with Standby mode
UJA1161ATK/0Z UJA1161ATK/0Z Datasheet CAN Interface IC Self-supplied high-speed CAN transceiver with Standby mode
UJA1168ATK/0Z UJA1168ATK/0Z Datasheet CAN Interface IC Mini high-speed CAN system basis chip for partial networking
UJA1166ATK/0Z UJA1166ATK/0Z Datasheet CAN Interface IC Self-supplied high-speed CAN transceiver with Sleep mode
UJA1167ATK/X/0Z UJA1167ATK/X/0Z Datasheet CAN Interface IC Mini high-speed CAN system basis chip with Standby/Sleep modes & watchdog
UJA1168ATK/F/0Z UJA1168ATK/F/0Z Datasheet CAN Interface IC Mini high-speed CAN system basis chip for partial networking
UJA1168ATK/X/0Z UJA1168ATK/X/0Z Datasheet CAN Interface IC Mini high-speed CAN system basis chip for partial networking
Published: 2021-06-21 | Updated: 2022-03-11