onsemi NCV8461 Self-Protected High-Side Driver

onsemi NCV8461 Self-Protected High-Side Driver with temperature shutdown and current limit is used to switch loads such as solenoids, bulbs, and activators. This driver includes CMOS (3V/5V) compatible control input and thermal shutdown with automatic restart. The NCV8461 high-side driver features off-state open load detection, ESD protection, very low standby current, open drain diagnostic output, and undervoltage shutdown function. This driver is Pb-free and AEC-Q100 qualified. The NCV8461 high-side driver is used to replace electromechanical relays and discrete circuits. This driver is ideal for industrial and automotive requirements.

Features

  • CMOS (3V/5V) compatible control input
  • Thermal shutdown with automatic restart
  • Off-state open load detection
  • ESD protection
  • Very low standby current
  • Open drain diagnostic output
  • Loss of ground and loss of VD protection
  • Reverse battery protection (with external resistor)
  • Undervoltage shutdown
  • 5V to 34V operating voltage range
  • -40°C to 150°C operating temperature range
  • Short circuit protection
  • AEC-Q100 qualified

Applications

  • Switch resistive, inductive, and capacitive loads
  • Replace electromechanical relays and discrete circuits
  • Automotive
  • Industrial requirements

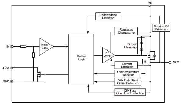
Block Diagram

Block Diagram - onsemi NCV8461 Self-Protected High-Side Driver
Published: 2024-12-09 | Updated: 2024-12-24