Skyworks Solutions Inc. SKY66405-11 2.4GHz RF Front-End Module

Skyworks Solutions Inc. SKY66405-11 2.4GHz RF Front-End Module is a high-performance module designed for Zigbee®, Thread, and BLUETOOTH® applications. This front-end module provides a power amplifier, low-noise amplifier, low-loss bypass path, transmit/receive switches, and digital controls. The SKY66405-11 module from Skyworks features sleep mode current and fast switch on/off time. This front-end module includes an integrated PA with 13dBm output power and an integrated LNA and bypass path. The SKY66405-11 operates at -40°C to +105°C temperature range. This front-end module functions with 1.7V to 3.6V supply voltage. The SKY66405-11 is ideal for use in smart thermostats, sensors, range extender, wireless audio, and smart lighting.

Features

  • Integrated PA with +13 dBm output power
  • Integrated LNA and bypass path
  • Single-ended transmit/receive interface
  • Fast switch on/off time
  • <1μA sleep mode current
  • Low-noise amplifier
  • Power amplifier
  • Digital controls

Applications

  • In-home appliances
  • Smart thermostats
  • Internet of Things (IoT) devices
  • Smart lighting
  • Sensors
  • Range extender
  • Wireless audio

Specifications

  • 2400MHz to 2483.5MHz RF frequency
  • 13dBm saturated output power
  • -40°C to +105°C operating temperature range
  • -40°C to +125°C storage temperature range
  • 1.7V to 3.6V supply voltage
  • 13.5dB Rx gain
  • 10dB Tx gain

SKY66405-11 Block Diagram

Block Diagram - Skyworks Solutions Inc. SKY66405-11 2.4GHz RF Front-End Module

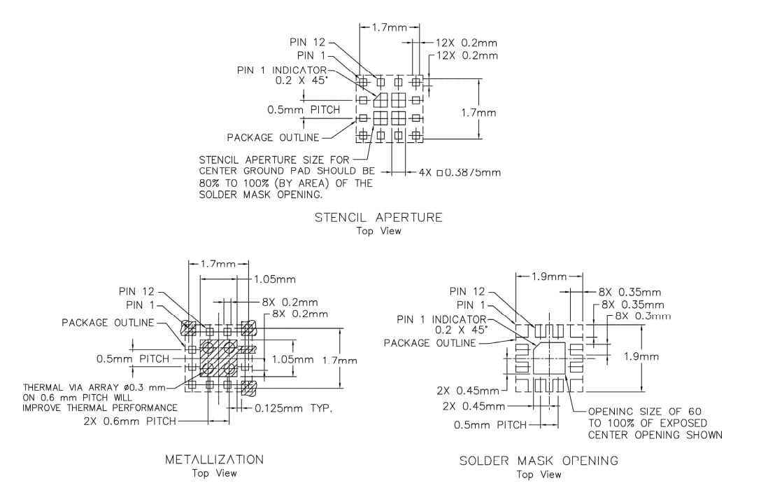
SKY66405-11 Mechanical Drawing

Mechanical Drawing - Skyworks Solutions Inc. SKY66405-11 2.4GHz RF Front-End Module
Published: 2019-11-11 | Updated: 2024-02-08