STMicroelectronics VNHD7012AY H-Bridge Motor Driver

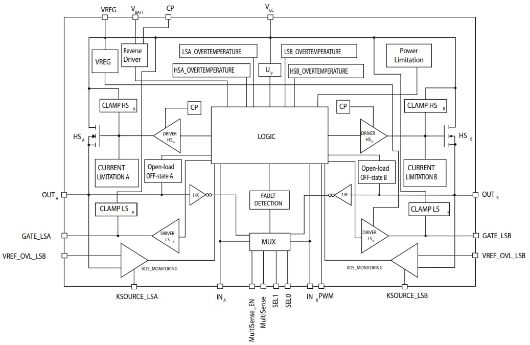
STMicroelectronics VNHD7012AY H-Bridge Motor Driver integrates a dual high-side driver and the drivers and protections for two external power MOSFETs in low-side configuration. The VNHD7012AY is designed using STMicroelectronics' VIPower® technology to efficiently integrate on the same die a true PowerMOSFET with an intelligent signal/protection circuitry. The STMicroelectronics VNHD7012AY H-Bridge Motor Driver is housed in a PowerSSO-36 exposed pad package to optimize dissipation performances.

Features

  • 38A output current
  • Two integrated drivers for the external LSDs
  • 3V CMOS compatible inputs
  • Protections:
    • Undervoltage shutdown
    • Overvoltage clamp
    • Thermal shutdown
    • Load current limitation
    • Self-limiting of fast thermal transients (Power Limitation)
    • Cross current protection
    • Shoot through protection
    • Loss of ground and loss of VCC
    • Electrostatic discharge protection
    • Drain and source voltage monitoring of the external power MOSFETs, configurable via an external resistance (short-to-battery protection)
  • PWM operation up to 20kHz for external LSDs
  • MultiSense monitoring functions
    • Analog motor current feedback
    • Chip temperature monitoring
    • Battery voltage monitoring
  • MultiSense diagnostic functions
    • Output short to ground detection
    • Thermal shutdown indication
    • OFF-state open-load detection
    • Output short to VCC detection
  • Standby mode
  • Half-bridge operation
  • Charge pump output for reverse battery protection
  • Dual fully protected HSD with MultiSense feedback
  • Package: ECOPACK®
  • AEC-Q100 qualified

Videos

Block Diagram

STMicroelectronics VNHD7012AY H-Bridge Motor Driver
Published: 2018-12-03 | Updated: 2023-02-24