TDK InvenSense IAM-20381HT 3-Axis Accelerometer
TDK InvenSense IAM-20381HT 3-Axis Accelerometer is a high-performance automotive Grade-2 accelerometer with a 4096-byte FIFO. This accelerometer uses a CMOS-MEMS fabrication platform to integrate MEMS wafers with companion CMOS electronics through wafer-level bonding. The IAM-20381HT accelerometer includes ±2g, ±4g, ±8g, and ±16g user-programmable range, programmable digital filters, an embedded temperature sensor, and on-chip 16-bit ADCs. This accelerometer is housed in a 3mm x 3mm x 0.75mm 16-pin LGA package. The IAM-20381HT accelerometer features I2C and SPI serial interfaces, 10,000g shock tolerant, and Wake-on-Motion (WoM) interrupt for low-power operation of applications processor. This accelerometer is used in car alarms, telematics, tilt measurement, lift gate motion detections, and drive-style recordings.Features
- 4096-byte FIFO buffer enables the application processor to read data in bursts
- Digital-output temperature sensor
- 10,000 shock tolerant
- User-programmable digital filters for accelerometer and temperature sensor
- Housed in a 3mm x 3mm x 0.75mm 16-pin LGA package
- User-programmable full-scale range of ±2g, ±4g, ±8g, and ±16g
- 1.71V to 3.7V VDD operating range
- 400kHz fast mode I2C for communicating with all registers
- 8MHz SPI serial interface for communicating with all registers
- MEMS structure hermetically sealed and bonded at the wafer level
Applications
- Car alarms
- Telematics
- Lift gate motion detections
- Tilt measurements
- Infotainment and navigation systems
- View camera stabilization and vision systems
- Head-up displays (HUD) and augmented reality (AR) HUDs
- Insurance vehicle tracking
- Drive-style recording
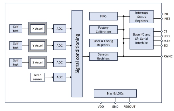
Block Diagram
Typical Operating Circuit Diagram
Additional Resources
Published: 2024-04-08
| Updated: 2024-10-01
