Texas Instruments ADS85xxS Simultaneous-Sampling ADCs
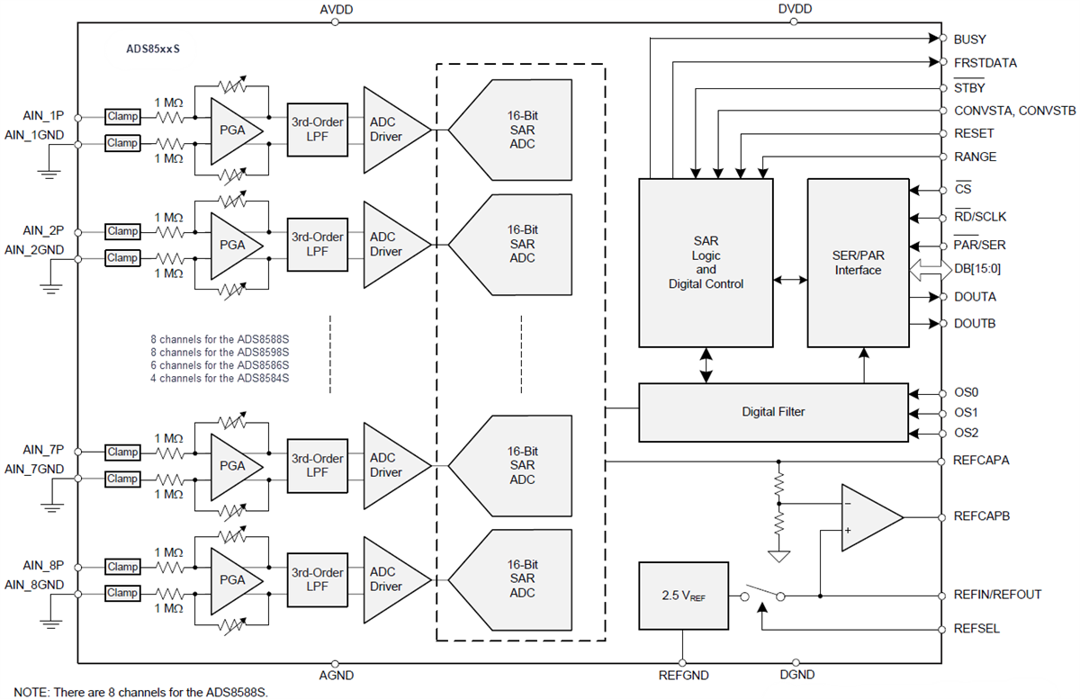
Texas Instruments ADS85xxS Simultaneous-Sampling ADCs are integrated data acquisition (DAQ) systems based on a 16-bit successive approximation (SAR) analog-to-digital converter (ADC). All input channels are simultaneously sampled to achieve a maximum throughput of 200kSPS per channel. The device features a complete analog front-end for each channel, including a programmable gain amplifier (PGA) with a high input impedance of 1MΩ. An input clamp, low-pass filter, and an ADC input driver are also included. Each Texas Instruments ADS85xxS also features a low-drift, precision reference with a buffer to drive the ADC. A flexible digital interface supporting serial, parallel, and parallel byte communication. This interface enables the devices to be used with various host controllers.Features
- 16-Bit ADCs with integrated analog front-end
- Simultaneous sampling 8, 6, and 4-channels
- ±10V and ±5V pin-programmable bipolar inputs
- 1MΩ high input impedance
- 5V analog supply (2.3V to 5V I/O supply)
- Excellent performance
- 200kSPS max. throughput on all channels
- DNL: ±0.35LSB; INL: ±0.45LSB
- SNR: 96.4dB; THD: −114dB
- Overvoltage input clamp with 7kV ESD
- Low-drift, on-chip reference (2.5V), and buffer
- Over-temperature performance
- 3ppm/°C max. offset drift
- 6ppm/°C gain drift
- On-chip digital filter for oversampling
- Flexible parallel, byte, and serial interface
- –40°C to +125°C temperature range
- LQFP-64 package
Applications
- Monitoring and control for power grids
- Protection relays
- Multi-phase motor controls
- Industrial automation and controls
- Multichannel data acquisition systems
Simplified Block Diagram
Published: 2017-02-08
| Updated: 2022-03-24
