Texas Instruments AFE5828 16-Ch Ultrasound Analog Front End

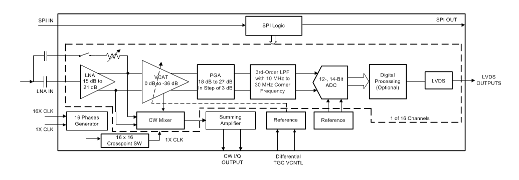
Texas Instruments AFE5828 16-Ch Ultrasound Analog Front End offers a highly integrated solution for ultrasound systems requiring high performance, low power, and small size. The AFE5828 has a multichip module (MCM) with two dies, one voltage-controlled amplifier (VCA) die and one analog-to-digital converter (ADC) die. The VCA die has 16 channels that interface with the 16 channels of the ADC die. Two modes can be configured from each channel in the VCA die, a time gain compensation (TGC) mode or a continuous wave (CW) mode.

The TGA mode provides each channel with a low-noise amplifier (LNA), a voltage-controlled attenuator (VCAT), a programmable gain amplifier (PGA), and a third-order, low-pass filter (LPF). The CW mode, the output of the LNA goes to a low-power passive mixer with 16 selectable phase delays followed by a summing amplifier with a band-pass filter. The ADC resolution can be exchanged with the conversion rate and can operate at maximum speeds of 65MSPS (14-bit res) and 80MSPS (12-bit res). The ADC is designed to scale its power with a sampling rate. Additionally, the output interface of the ADC comes out through a low-voltage differential signaling (LVDS) that can easily interface with low-cost field-programmable gate arrays (FPGAs). The device is compatible with the AFE5818 and AFE5816 families.

Features

  • LVDS Interface with a speed up to 1Gbps
  • 15mm × 15mm NFBGA-289 Small package
  • 16-Channel AFE for ultrasound applications:
    • Optimized signal chains for TGC and CW modes
    • Four programmable TGC profiles
  • Low-Noise Amplifier (LNA) with:
    • 21dB, 18dB, and 15dB Programmable gain
    • 0.37VPP, 0.5VPP, and 0.71VPP Linear input signal amplitude
    • Active termination
  • Voltage-Controlled Attenuator (VCAT):
    • 0dB to 36dB Attenuation range
  • Programmable Gain Amplifier (PGA):
    • 18dB to 27dB in Steps of 3dB
  • 3rd-Order, linear-phase, Low-Pass Filter (LPF):
    • Cutoff frequency from 10MHz to 30MHz
  • ADC Modes (Idle-channel SNR):
    • 14-Bit, 65MSPS Mode: 75dBFS
    • 12-Bit, 80MSPS Mode: 72dBFS
  • Optimized for noise and power:
    • TGC Mode: 102mW/Ch at 0.8nV/√Hz, 65MSPS, 14-Bit output
    • CW Mode: 63mW/Ch
  • Excellent device-to-device gain matching:
    • ±0.4dB (Typical)
  • Fast and consistent overload recovery
  • Continuous Wave (CW) path with:
    • Low close-in phase noise of –159dBc/Hz at 1kHz frequency offset off 2.5MHz carrier
    • λ/16 Phase resolution
    • Supports 16x and 8x CW clocks
    • 12dB Suppression of 3rd and 5th harmonics

Applications

  • Medical ultrasound imaging
  • Nondestructive evaluation equipment
  • Sonar imaging equipment

Block Diagram

Block Diagram - Texas Instruments AFE5828 16-Ch Ultrasound Analog Front End
Published: 2018-07-13 | Updated: 2022-11-10