Texas Instruments TCA9406 2-Bit Bidirectional Translators

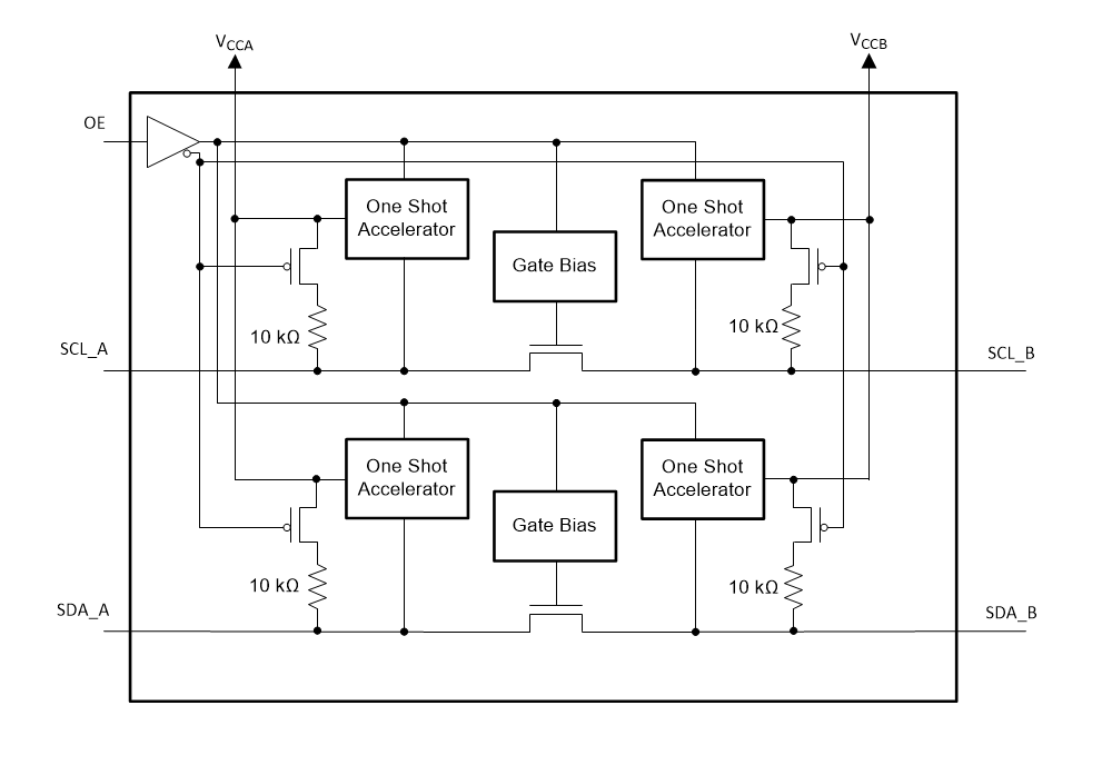
Texas Instruments TCA9406 2-Bit Bidirectional Translators are designed for SDA and SCL lines in mixed-mode I2C applications. These two-bit bidirectional translators are operational from 1.65V to 3.6V on A-Port and 2.3V to 5.5V on B-port. The enable input is referenced to VCCA with a maximum input voltage tolerance of 4.6V. The TI TCA9406 voltage-level translators can operate up to 24Mbps in push-pull mode and up to 2Mbps with open-drain mode. The TI TCA9406 bidirectional translators provide both level translation and physically isolates the capacitance to either side of the bus when both sides are connected. Texas Instruments TCA9406 2-Bit Bidirectional Translators are ideal for a variety of level-shifter applications, including I2C/SMBus, UART, and GPIO.

Features

  • TAS2560 5.7W Class-D audio amplifier with IV sense
  • USB cable for control and digital audio input
  • PurePath console 3 software access
  • IOFF supports partial power-down (VCC= 0V) with 2mA
  • Stereo capable when connecting two TAS2560 evaluation modules
  • High-impedance output SCL1, SDA1, SCL2, and SDA2 pins when OE = low or VCC = 0V

Applications

  • I2C/SMBus
  • UART
  • GPIO

Block Diagram

Block Diagram - Texas Instruments TCA9406 2-Bit Bidirectional Translators
Published: 2011-04-11 | Updated: 2022-11-16